Description
Number of Pages: 43
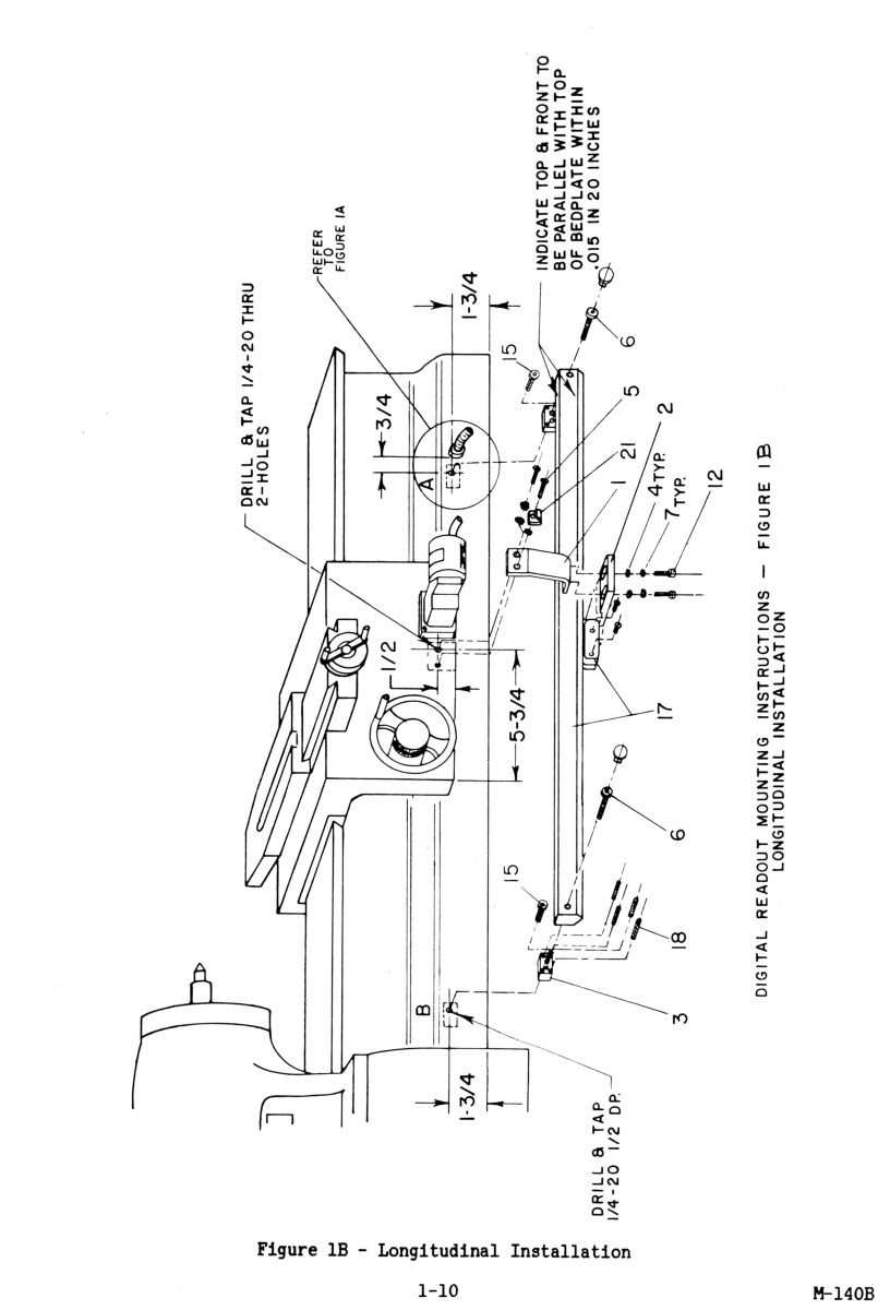
This is a reproduction, not a photocopy, of an original Hardinge Acu-Rite Digital Readout (DRO) System for Hardinge HLV, TFB, and HC metal lathes parts list, retrofit mounting instructions, preparation instructions, scale maintenance, and troubleshooting Manual.
This is a very unique and rare Hardinge manual. This manual contains great diagrams and step-by-step instructions on how to mount and wire up the Acu-Rite DRO system on basically any Hardinge lathe. The instructions are very detailed. They even tell you the tools you need before you get started. There are wiring diagrams and pinout diagrams for the boards. There are a lot of useful tips in the maintenance sections as well.
If you are planning on installing any kind of DRO on your Hardinge lathe, you need this manual. We have a few Hardinge lathes in our shop. I am speaking from experience.
Overview:
I have collected this information for many years and have found the information they contain to be priceless in using and setting up the machines properly. I believe this manual will be a valuable resource of knowledge that will provide a lot of helpful information that is often hard to find. My manuals are not photocopies. I maintain a high standard of quality in my reproductions. Most of the manuals I reproduce look better than their originals. I have professionally digitally edited every page, and removed stains, wrinkles and handwriting. All of the manuals are printed on thick white paper to withstand shop wear and tear, which can be better than a low-resolution free pdf download.





