Description
Number of Pages: 75
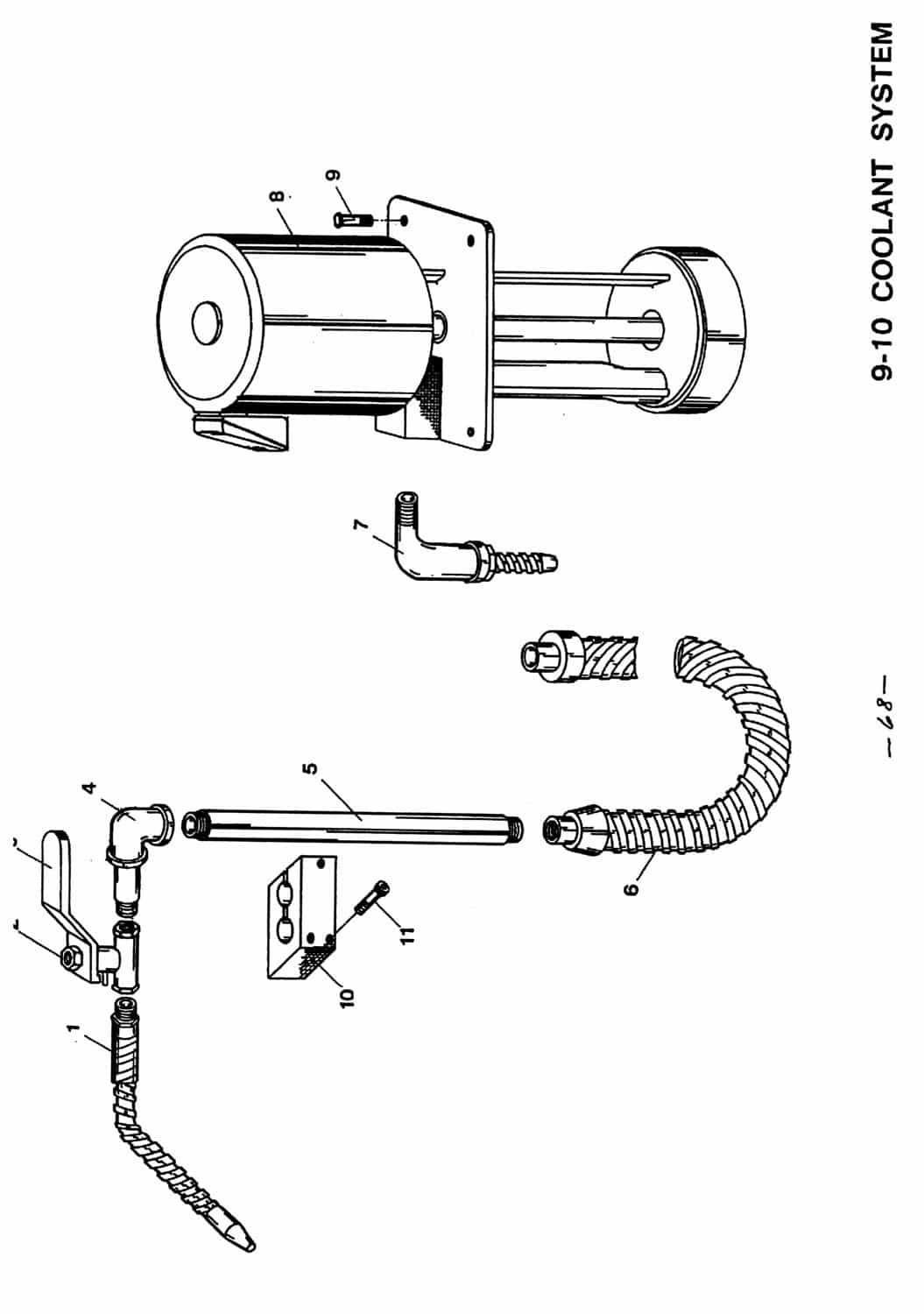
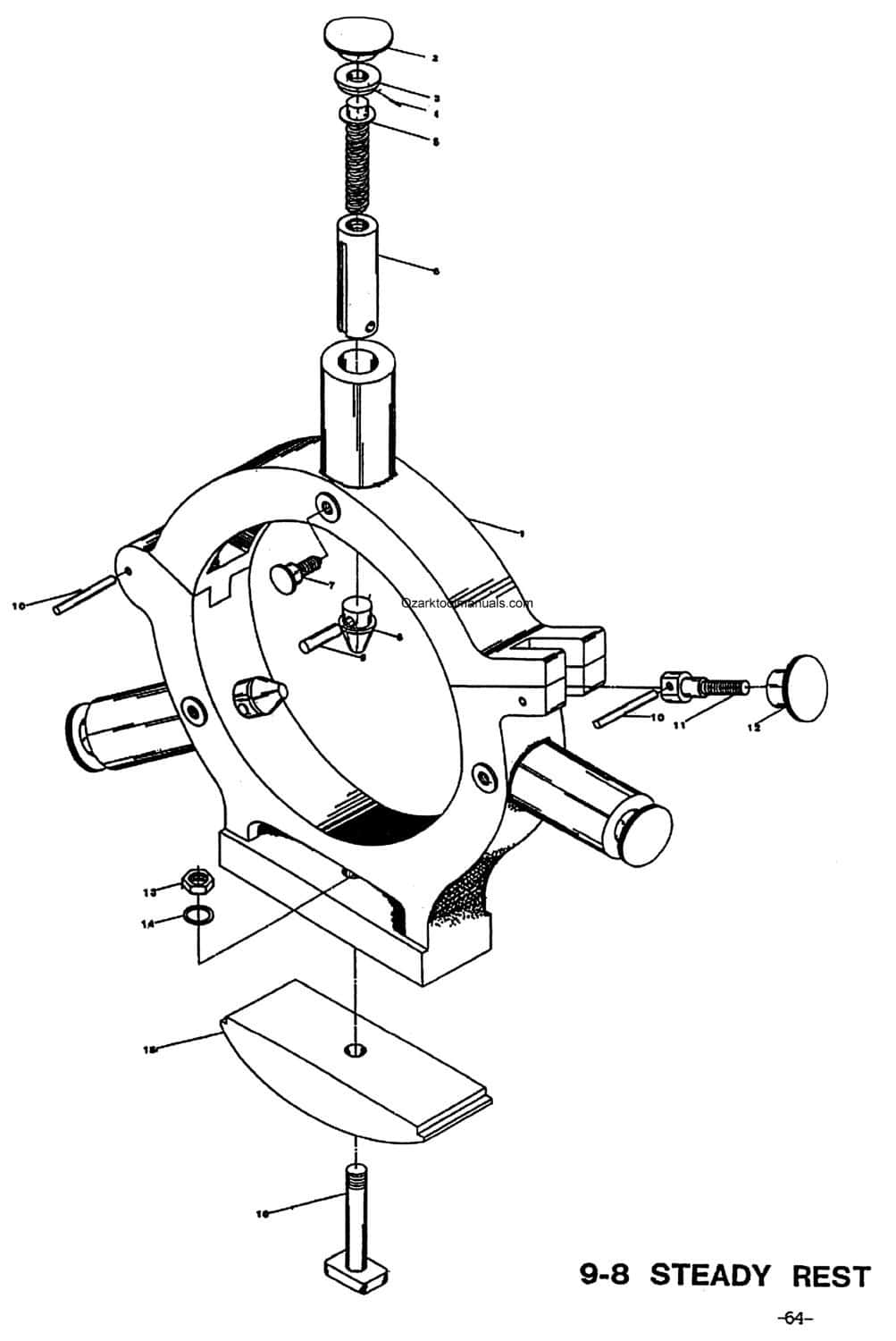
This is a reproduction, not a photocopy, of an original Millport 15″ and 17″ SJ Series Metal Lathes Instruction and Parts Manual. These lathes were sold under a variety of names when imported such as Shen Jey, Osama, and Victor Machines. This manual contains information on the metal lathe specifications, setup and installation instructions. The Millport manual covers how to properly operate and lubricate these lathes with lubrication chart. The manual has a wiring diagram, and the threading charts. There is a trouble shooting guide, and a complete set of explosive view diagrams of all the parts with parts list and descriptions for the Millport SJ series engine metal lathes.
|
The manual above may help you operate and maintain your metal lathe. If you would like to learn more about metal lathework techniques, the names and proper uses of different lathe tools, and other lathe operations, I would recommend clicking on the pictures of these two books here. We also have a complete series of different machinist books on sharpening, gearmaking, milling machines, and more here: Workshop Machinist Series |
|
|
|---|
Overview:
I have collected this information for many years and have found the information they contain to be priceless in using and setting up the machines properly. I believe this manual will be a valuable resource of knowledge that will provide a lot of helpful information that is often hard to find. My manuals are not photocopies. I maintain a high standard of quality in my reproductions. Most of the manuals I reproduce look better than their originals. I have professionally digitally edited every page, and removed stains, wrinkles and handwriting. All of the manuals are printed on thick white paper to withstand shop wear and tear.
