Description
Number of Pages: 22
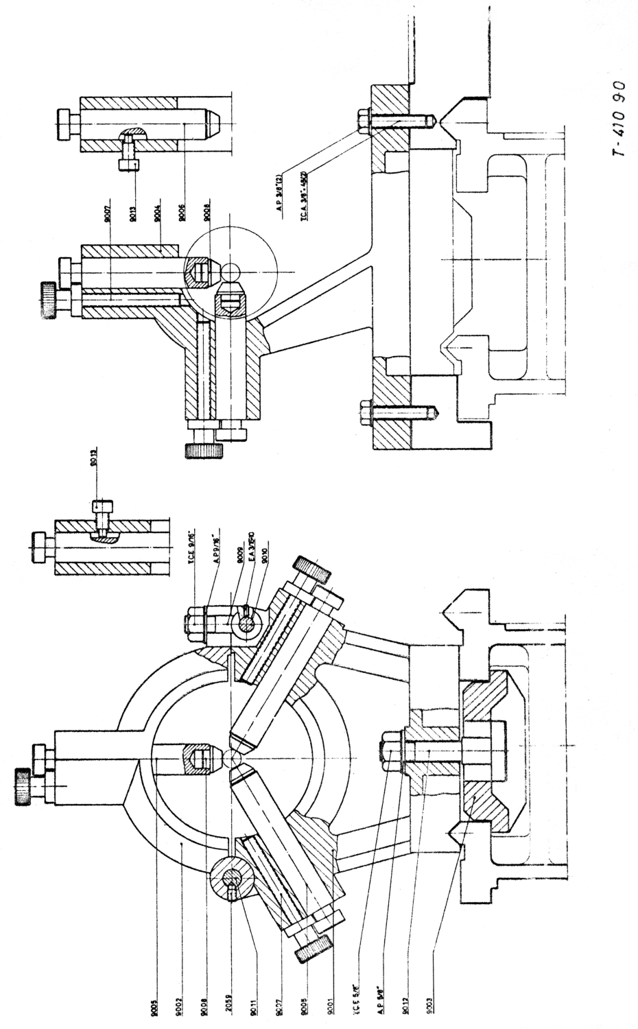
This is a reproduction, not a photocopy, of an original Republic-Lagun 14″ x 40″ and 14″ x 60″ Metal Lathes Operating Instructions and Parts Manual. This manual contains information on the lathe specifications, lubrication instructions, operating instructions and a wiring diagram. The Lagun manual has cross-sectional view diagrams of all the parts.
|
The manual above may help you operate and maintain your metal lathe. If you would like to learn more about metal lathework techniques, the names and proper uses of different lathe tools, and other lathe operations, I would recommend clicking on the pictures of these two books here. We also have a complete series of different machinist books on sharpening, gearmaking, milling machines, and more here: Workshop Machinist Series |
|
|
|---|
Overview:
I have collected this information for many years and have found the information they contain to be priceless in using and setting up the machines properly. I believe this manual will be a valuable resource of knowledge that will provide a lot of helpful information that is often hard to find. My manuals are not photocopies. I maintain a high standard of quality in my reproductions. Most of the manuals I reproduce look better than their originals. I have professionally digitally edited every page, and removed stains, wrinkles and handwriting. All of the manuals are printed on thick white paper to withstand shop wear and tear, and better than a low resolution pdf download.
