Description
Number of Pages: 124
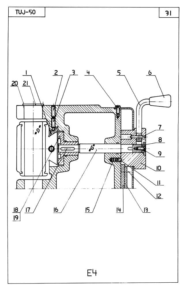
This is a reproduction, not a photocopy, of an original Polish Polamco Metalexportย TUJ-50 Engine Metal Lathe Service Parts Manual. These metal lathes were made in Poland, and sold under many different names including Metalexport and Famot depending on how they were imported.
This manual contains clear cross-sectional views of all the parts with parts list and descriptions for this TUJ-50 metal lathe.
We also have the operator’s manual with the wiring diagram in our store as well.
Overview:
I have collected this information for many years and have found the information they contain to be priceless in using and setting up the machines properly. I believe this manual will be a valuable resource of knowledge that will provide a lot of helpful information that is often hard to find. My manuals are not photocopies. I maintain a high standard of quality in my reproductions. Most of the manuals I reproduce look better than their originals. I have professionally digitally edited every page, and removed stains, wrinkles and handwriting. All of the manuals are printed on thick white paper to withstand shop wear and tear, which is better than a low resolution pdf download.
