Description
Number of Pages: 111
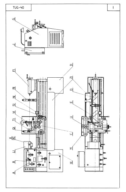
This is a reproduction, not a photocopy, of an original Andrychow Polamco TUG-40 Engine Lathe Parts Manual. This manual covers the later 1,600 RPM versions and not the older 1,400 RPM versions. These lathes were sold under many different names including Toolmex and Famot. This is a very large and detailed parts manual with cross sectional diagrams of all the parts with parts descriptions for this TUG-40 metal lathe. It also contains an electrical wiring diagram for the lathe as well.
Overview:
I have collected this information for many years and have found the information they contain to be priceless in using and setting up the machines properly. I believe this manual will be a valuable resource of knowledge that will provide a lot of helpful information that is often hard to find. My manuals are not photocopies. I maintain a high standard of quality in my reproductions. Most of the manuals I reproduce look better than their originals. I have professionally digitally edited every page, and removed stains, wrinkles and handwriting. All of the manuals are printed on thick white paper to withstand shop wear and tear.
