Description
Number of Pages: 40
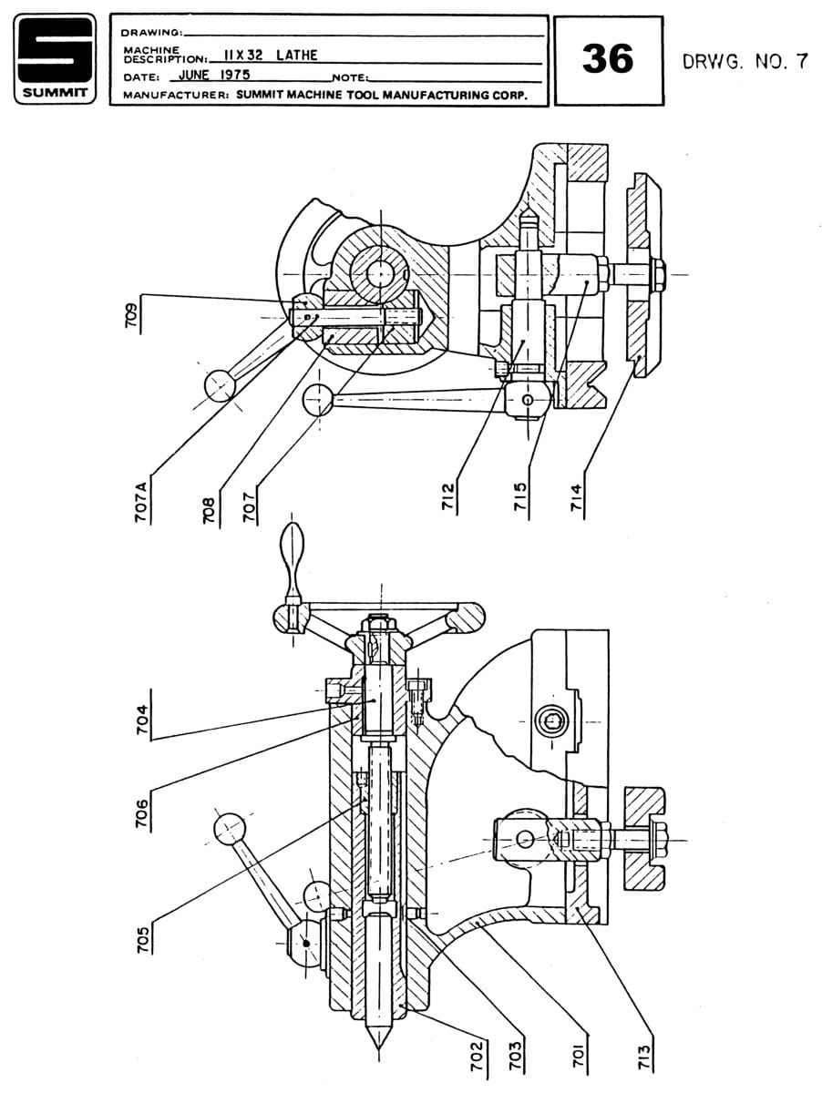
This is a reproduction, not a photocopy, of an original Summit 11×32 Metal Lathe Operators and Parts Manual. This manual contains information on proper installation instructions, metal lathe specifications, operating instructions, lubrication, wiring diagrams, and cross sectional view diagrams of the parts with descriptions. The manual has a chart on the different bearing specifications, if you need to replace any of those. Overall this is a good manual for an Asian lathe from this timeframe.
|
The manual above may help you operate and maintain your metal lathe. If you would like to learn more about metal lathework techniques, the names and proper uses of different lathe tools, and other lathe operations, I would recommend clicking on the pictures of these two books here. We also have a complete series of different machinist books on sharpening, gearmaking, milling machines, and more here: Workshop Machinist Series |
|
|
|---|
Overview:
I have collected this information for many years and have found the information they contain to be priceless in using and setting up the machines properly. I believe this manual will be a valuable resource of knowledge that will provide a lot of helpful information that is often hard to find. My manuals are not photocopies. I maintain a high standard of quality in my reproductions. Most of the manuals I reproduce look better than their originals. I have professionally digitally edited every page, and removed stains, wrinkles and handwriting. All of the manuals are printed on thick white paper to withstand shop wear and tear, which is better than a low resolution pdf download.
