Description
Number of Pages: 50
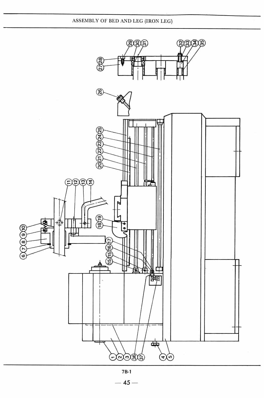
This is a reproduction, not a photocopy, of an original Sharp 1760K Metal Lathe Instruction and Parts Manual. These lathes were sold under other brand names like Magi 1760. The manual contains a lot of information and cross references to the 1740K, which has a shorter bed. This manual contains information on set up, safety instructions, lubrication, wiring diagram, threading charts, making adjustments and a trouble shooting guide. The manual includes a complete parts list and cross sectional view parts diagrams for this Sharp metal lathe.
Overview:
I have collected this information for many years and have found the information they contain to be priceless in using and setting up the machines properly. I believe this manual will be a valuable resource of knowledge that will provide a lot of helpful information that is often hard to find. My manuals are not photocopies. I maintain a high standard of quality in my reproductions. Most of the manuals I reproduce look better than their originals. I have professionally digitally edited every page, and removed stains, wrinkles and handwriting. All of the manuals are printed on thick white paper to withstand shop wear and tear.
