Description
Number of Pages: 80
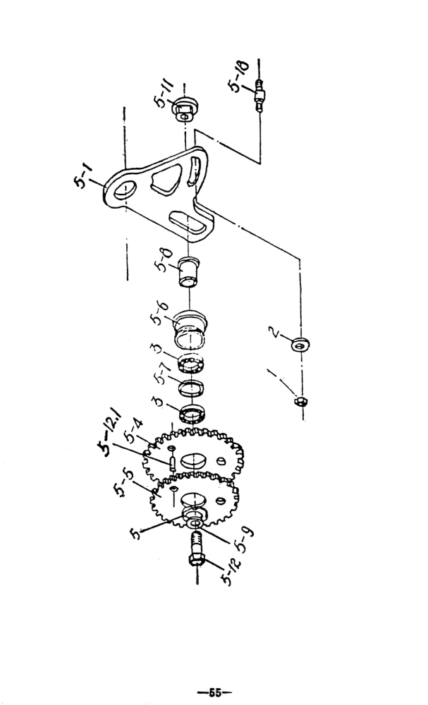
This is a reproduction, not a photocopy, of an original Sharp 17″ Metal Lathes Operating Instructions and Parts Manual. This manual covers various models like the following: 1740T, 1764T, and 1780T. This lathe manual contains lathe specifications, installation instructions, lubricating instructions, and proper operating procedures. It includes all the threading gear charts and the electrical wiring diagram. The manual has explosive view diagrams of all the parts with parts list for these Sharp 1700T series metal lathes.
Overview:
I have collected this information for many years and have found the information they contain to be priceless in using and setting up the machines properly. I believe this manual will be a valuable resource of knowledge that will provide a lot of helpful information that is often hard to find. My manuals are not photocopies. I maintain a high standard of quality in my reproductions. Most of the manuals I reproduce look better than their originals. I have professionally digitally edited every page, and removed stains, wrinkles and handwriting. All of the manuals are printed on thick white paper to withstand shop wear and tear.

