Description
Number of Pages: 55
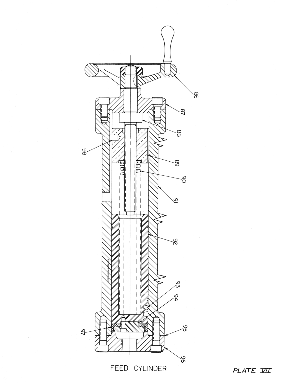
This is a reproduction, not a photocopy, of an original Rockford Hy-Draulic Metal Shaper Operator Maintenance and Parts Manual. This manual covers the Rockford 16″, 20″ 24″ Standard, 24″ Heavy, and 28″ metal shaper models. This is a good manual that explains how to properly operate this metal shaper, and contains proper lubrication instructions. There are also wiring diagrams/schematics, and has a diagram of the hydraulic circuit. There are instructions on parts diagrams for the hydraulic Vickers pumps used in this metal shaper, and there is a complete set of cross-sectional view diagrams of all the parts with a parts list and descriptions.
Overview:
I have collected this information for many years and have found the information they contain to be priceless in using and setting up the machines properly. I believe this manual will be a valuable resource of knowledge that will provide a lot of helpful information that is often hard to find. My manuals are not photocopies. I maintain a high standard of quality in my reproductions. Most of the manuals I reproduce look better than their originals. I have professionally digitally edited every page, and removed stains, wrinkles and handwriting. All of the manuals are printed on thick white paper to withstand shop wear and tear, and better than a low resolution pdf download.
