Description
Number of Pages: 41
This is a reproduction, not a photocopy, of an original Liberty 1300 13″ Metal Lathe Owner Instructions and Parts Manual. These lathes were made in Taiwan by Turret Machinery Co, LTD Taichung.
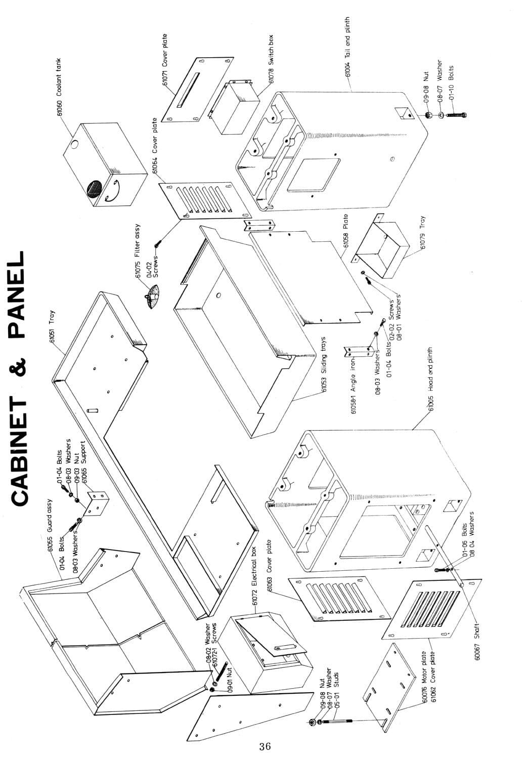
This manual contains information about the metal lathe specifications, proper lubricating instructions, and operating instructions. This Liberty lathe manual covers how to make different adjustments. It also has cross-sectional view diagrams of the parts, and a wiring diagram. The diagrams are clear in this manual, but like a lot of Asian machine manuals, the pictures are fair. They look better than the original.
|
The manual above may help you operate and maintain your metal lathe. If you would like to learn more about metal lathework techniques, the names and proper uses of different lathe tools, and other lathe operations, I would recommend clicking on the pictures of these two books here. We also have a complete series of different machinist books on sharpening, gearmaking, milling machines, and more here: Workshop Machinist Series |
|
|
|---|
Overview
I have collected this information for many years and have found the information they contain to be priceless in using and setting up the machines properly. I believe this manual will be a valuable resource of knowledge that will provide a lot of helpful information that is often hard to find. My manuals are not photocopies. I maintain a high standard of quality in my reproductions. Most of the manuals I reproduce look better than their originals. I have professionally digitally edited every page, and removed stains, wrinkles and handwriting. All of the manuals are printed on thick white paper to withstand shop wear and tear; they are then comb bound with heavy cover pages so they lie flat on the workbench. Better than a pdf download.
