Description
Number of Pages: 68
This is a reproduction, not a photocopy, of an original Hardinge High Speed Tool Room Lathe Model HLV operator’s manual, and was published in 1954. We also have the parts manual for the HLV lathes in our online store as well. We also have operator’s manuals covering different vintages of the Hardinge HLV series. We’ve included pictures in every description to help you identify the correct manual to match your vintage. If you have any questions, feel free to contact us.
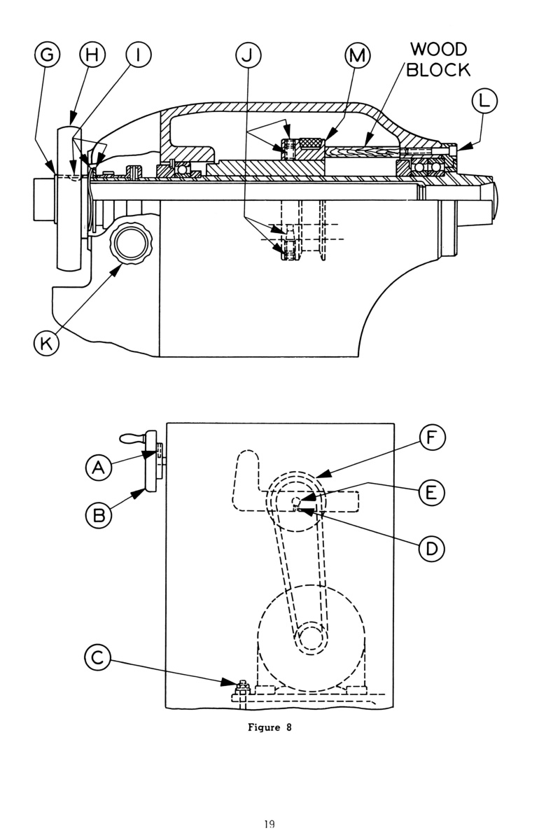
This manual contains information how to properly set up and operate the different parts of this lathe. It covers lubrication, and how to correctly set up the different tooling. It also includes adjusting and removing the collet closer as well as how to replace and adjust the drive belts. The manual covers how to set up the outside change gears, the threading charts, and instructions for thread cutting as well as metric threads on the Hardinge HLV tool room lathe.
We also have the parts manual for the Hardinge HLV lathes, but it covers the electric variable speed here:
HARDINGE HLV-BLK High Speed Tool Room Lathe Parts Manual
Overview:
I have collected this information for many years and have found the information they contain to be priceless in using and setting up the machines properly. I believe this manual will be a valuable resource of knowledge that will provide a lot of helpful information that is often hard to find. My manuals are not photocopies. I maintain a high standard of quality in my reproductions. Most of the manuals I reproduce look better than their originals. I have professionally digitally edited every page, and removed stains, wrinkles and handwriting. All of the manuals are printed on thick white paper to withstand shop wear and tear.



