Description
Number of Pages: 25
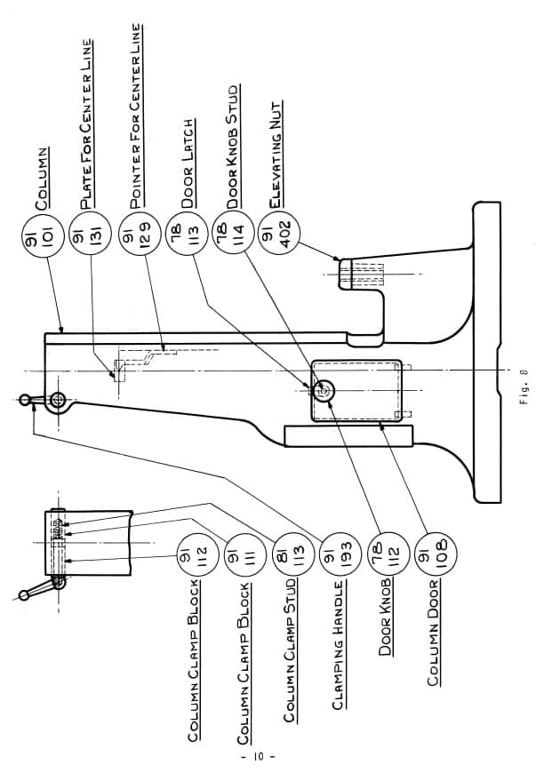
This is a reproduction, not a photocopy, of an original Covel 91-A Cutter & Tool Surface Grinder Owner’s, Operator’s and Parts Manual. This manual contains the surface grinder specifications, operating instructions, lubrication, and instructions for making adjustments. This Covel manual includes a complete set of cross-sectional view diagrams of all the parts.
We also added several pages from bulletins that were included with the manual that show all the different accessories and attachments. These include radius grinding, tap grinding, and the large radius grinding attachment. These pages also include images of how they were setup on the grinder, and even some showing how they were used in more detail.
Overview
I have collected this information for many years and have found the information they contain to be priceless in using and setting up the machines properly. I believe this manual will be a valuable resource of knowledge that will provide a lot of helpful information that is often hard to find. My manuals are not photocopies. I maintain a high standard of quality in my reproductions. Most of the manuals I reproduce look better than their originals. I have professionally digitally edited every page, and removed stains, wrinkles and handwriting. All of the manuals are printed on thick white paper to withstand shop wear and tear; they are then comb bound with heavy cover pages so they lie flat on the workbench. Better than a pdf download.
