Description
Number of Pages: 52
This is a reproduction, not a photocopy, of an original Birmingham Gap Bed Metal Lathe Operating Instructions Manual for the DL series. This Birmingham manual covers the following models: DL-1840, DL-1860, DL-1880, DL-18120, DL-2240, DL-2260, DL-2280, DL-22120, DL-2640L, DL-2660L, DL-2680L, and DL-26120L.
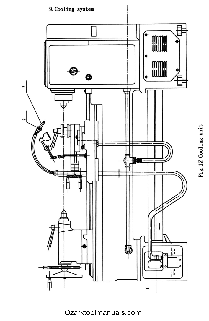
This manual contains information on the metal lathe specifications, installation instructions, and foundation dimensions. It explains all the operating controls, metal lathe adjustments, and contains a diagram of the transmission system. The manual includes proper lubrication instructions, and all the threading cutting and feed plates. The manual also has the wiring diagrams for these Birmingham metal lathes.
Overview
I have collected this information for many years and have found the information they contain to be priceless in using and setting up the machines properly. I believe this manual will be a valuable resource of knowledge that will provide a lot of helpful information that is often hard to find. My manuals are not photocopies. I maintain a high standard of quality in my reproductions. Most of the manuals I reproduce look better than their originals. I have professionally digitally edited every page, and removed stains, wrinkles and handwriting. All of the manuals are printed on thick white paper to withstand shop wear and tear; they are then comb bound with heavy cover pages so they lie flat on the workbench. Better than a pdf download.

