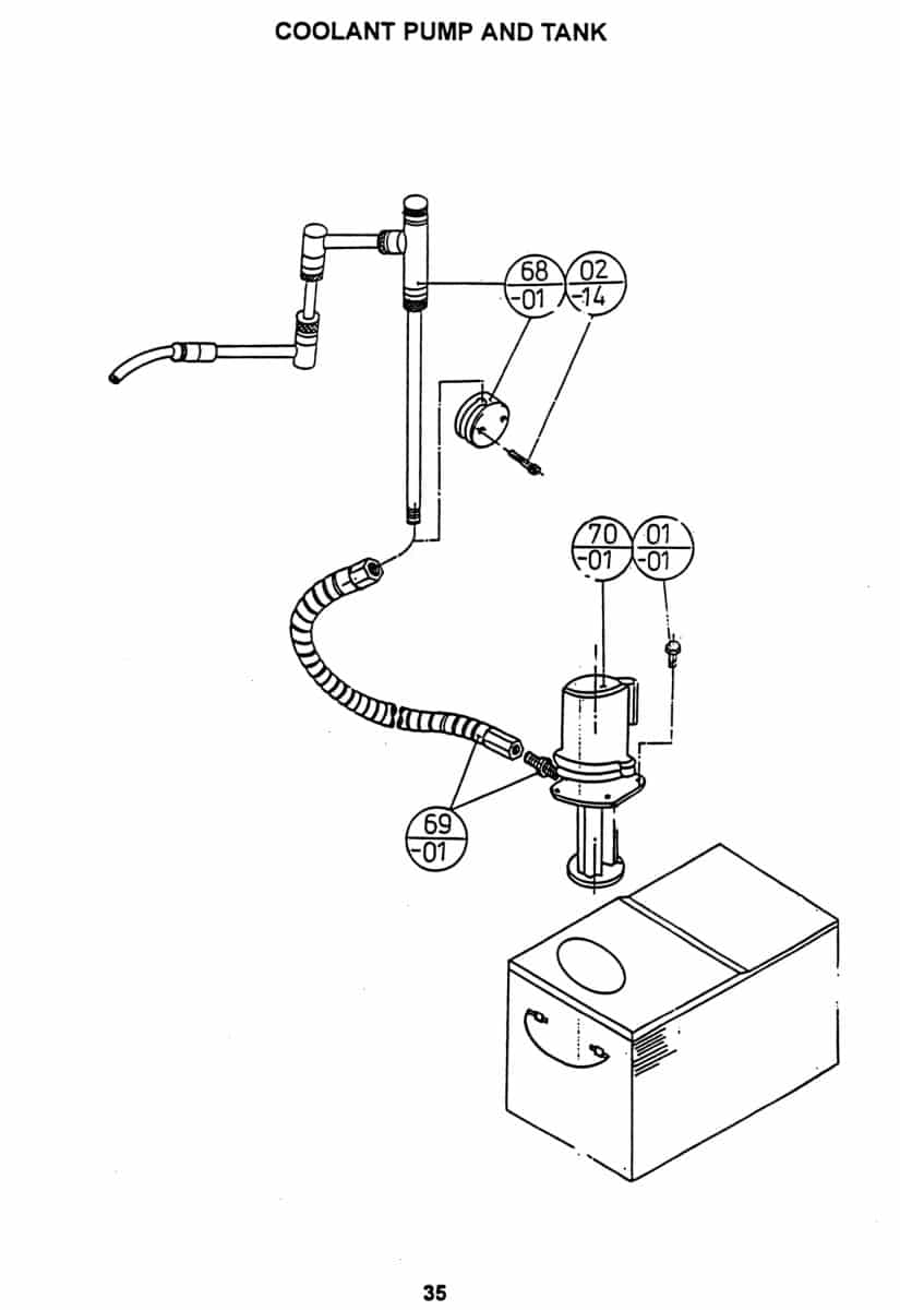
Description
This is a reproduction, not a photocopy, of an original 1999 South Bend 18″ x 60″, 22″ x 80″, 22″ x 120″ Variable Speed Metal Lathe Operation & Maintenance Parts Manual for models 18-60 E.V.S, 22-80 E.V.S, and 22-130 E.V.S. These are the older models before Grizzly’s version. This manual contains the lathe specifications, lifting and installation instructions, proper operating and lubrication chart and instructions. There are copies of all the feed, speed, and thread pitch charts. It also has the electrical wiring diagram schematic. There is a complete set of clear cross-sectional view diagrams of all the parts with parts lists and descriptions.
Overview
I have collected this information for many years and have found the information they contain to be priceless in using and setting up the machines properly. I believe this manual will be a valuable resource of knowledge that will provide a lot of helpful information that is often hard to find. My manuals are not photocopies. I maintain a high standard of quality in my reproductions. Most of the manuals I reproduce look better than their originals. I have professionally digitally edited every page, removing stains, wrinkles, and handwriting. All of the manuals are printed on thick white paper to withstand shop wear and tear; they are then comb-bound with heavy cover pages, so they lie flat on the workbench. This is nicer than a low-resolution free PDF download.

