Description
Number of Pages: 21
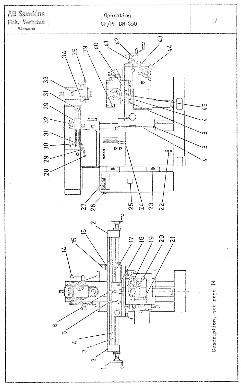
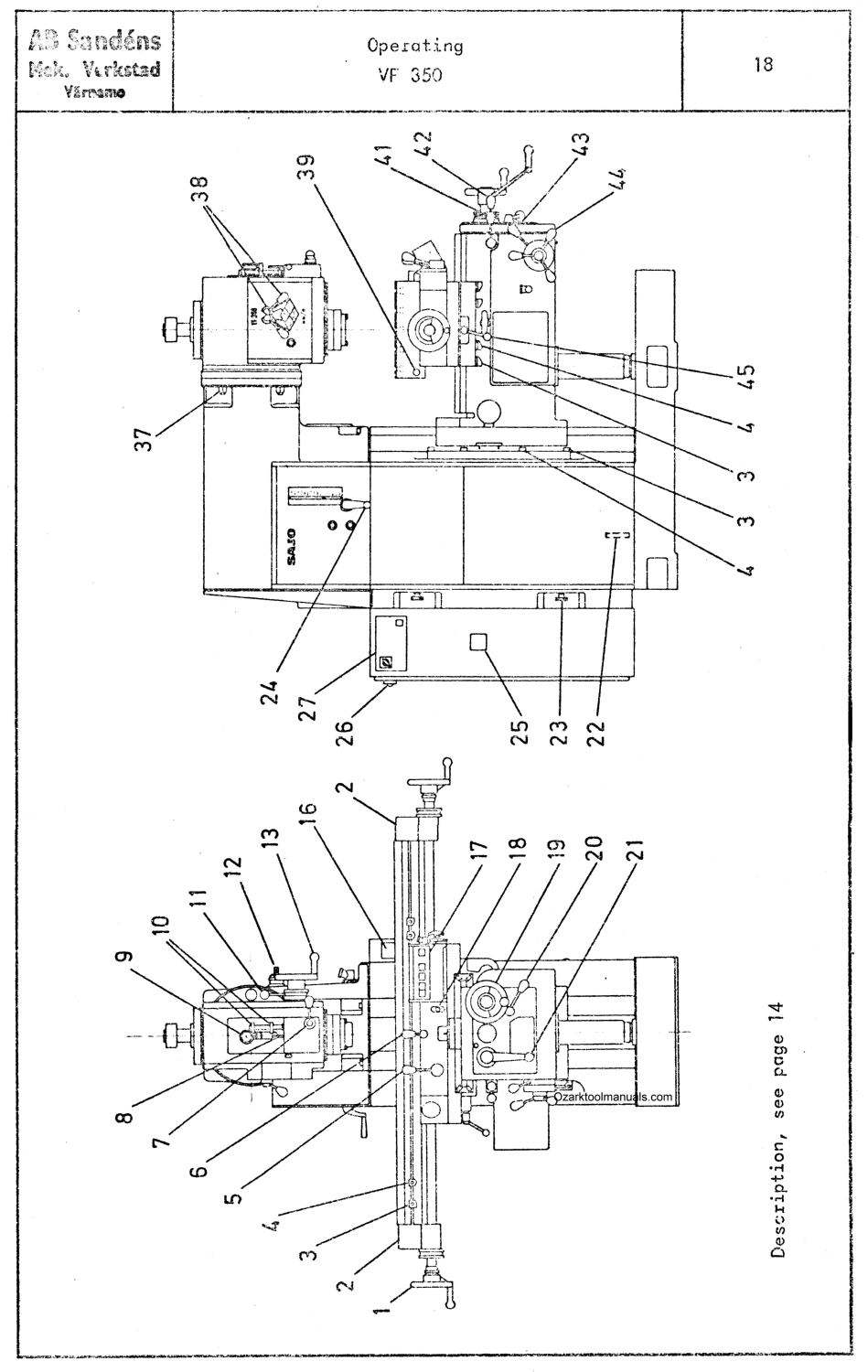
This is a reproduction, and not a photocopy, of an original Sajo UF/PF, Duo Mill, and VF Horizontal Milling Machine Operating and Parts Manual made in Sweden. This manual contains information on proper lubrication instructions with a chart. The manual has operating instructions.
|
The manual above may help you operate and maintain your milling machine, but if you would like to learn more about how to set up and use your mill properly, I highly recommend you check out this book here: The Milling Machine for Home Machinists Book. It covers how to properly install, and check for alignment of the table and spindle illustrated in color photographs and diagrams. It goes into the basics of how to clamp down different shaped material. This information can even be useful for experienced mill operators. You’ll wish this was the manual that originally came with your mill with its no-nonsense approach. We also have a complete series of different machinist books on sharpening, gearmaking, metal lathes, and more here: Workshop Machinist Series |
|
|---|
Overview:
I have collected this information for many years and have found the information they contain to be priceless in using and setting up the machines properly. I believe this manual will be a valuable resource of knowledge that will provide a lot of helpful information that is often hard to find. My manuals are not photocopies. I maintain a high standard of quality in my reproductions. Most of the manuals I reproduce look better than their originals. I have professionally digitally edited every page, and removed stains, wrinkles and handwriting. All of the manuals are printed on thick white paper to withstand shop wear and tear. This manual is clearer and easier to read than a .pdf download.
