Description
Number of Pages: 15
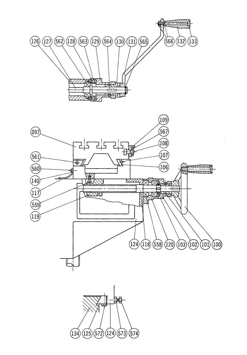
This is a reproduction, not a photocopy, of an original JET Tools HVM-728 Vertical and Horizontal Milling Machine Instructions and Parts Manual for Stock No. 690047. This manual has the mill specifications, general operating instructions, and lubricating instructions. The JET manual contains wiring diagrams and cross-sectional view diagrams of the parts. There are parts list with descriptions, but it appears that there was a certain set of parts that weren’t replaceable. It seems that they have left those numbers off with the descriptions, but they are shown in the diagrams. The manual is complete, because I have two copies that are the same, and don’t seem to have any missing pages.
|
The manual above may help you operate and maintain your milling machine, but if you would like to learn more about how to set up and use your mill properly, I highly recommend you check out this book here: The Milling Machine for Home Machinists Book. It covers how to properly install, and check for alignment of the table and spindle illustrated in color photographs and diagrams. It goes into the basics of how to clamp down different shaped material. This information can even be useful for experienced mill operators. Youโll wish this was the manual that originally came with your mill with its no-nonsense approach. We also have a complete series of different machinist books on sharpening, gearmaking, metal lathes, and more here: Workshop Machinist Series |
|
|---|
Overview
I have collected this information for many years and have found the information they contain to be priceless in using and setting up the machines properly. I believe this manual will be a valuable resource of knowledge that will provide a lot of helpful information that is often hard to find. My manuals are not photocopies. I maintain a high standard of quality in my reproductions. Most of the manuals I reproduce look better than their originals. I have professionally digitally edited every page and removed stains, wrinkles, and handwriting. All of the manuals are printed on thick white paper to withstand shop wear and tear; they are then comb-bound with heavy cover pages so they lie flat on the workbench. Better than a low-resolution PDF download.





