Description
Number of Pages: 195 + 1 foldout
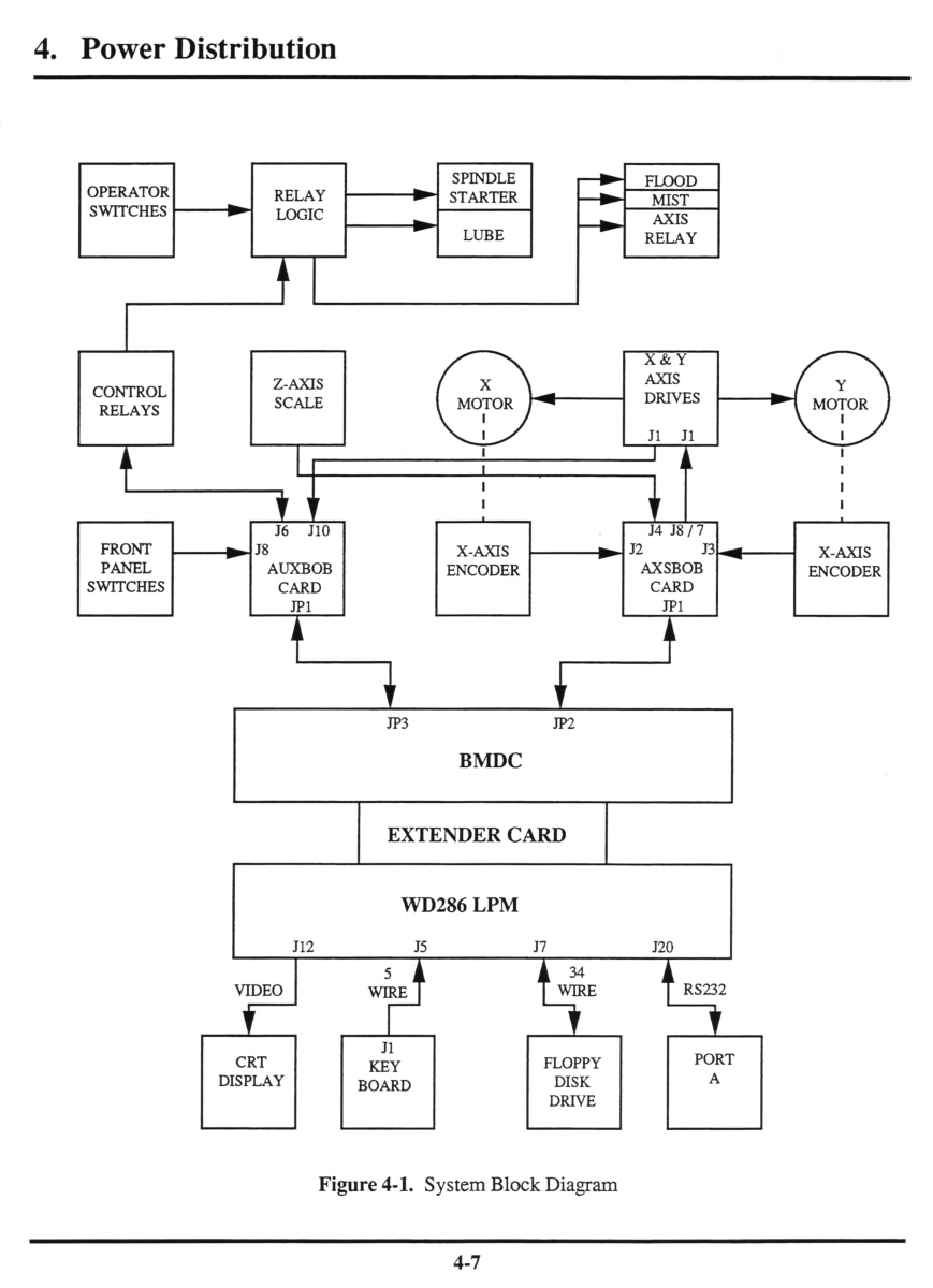
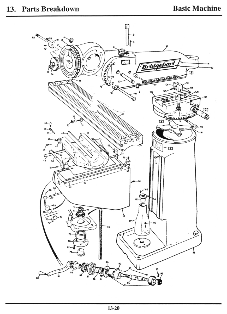
This is a reproduction, not a photocopy, of a Bridgeport Series I EZ-TRAK SX CNC Vertical Milling Installation, Operation, Maintenance, and Parts Manual. This is a very large and detailed manual for this mill, as you can see by the contents. If you are using or converting this machine to a different CNC controller, you will find this manual invaluable. The manual covers all the different logic boards and describes their pinout. There is a complete electrical wiring diagram schematic on an 11″ x 17″ foldout. This Bridgeport manual shows how to properly operate this mill with diagrams for explaination. The manual also contains information on proper lubricating instructions and instructions on how to make necessary adjustments to various parts of the mill. The manual also has clear explosive view diagrams of all the parts with parts lists and descriptions.
Overview
I have collected this information for many years and have found the information they contain to be priceless in using and setting up the machines properly. I believe this manual will be a valuable resource of knowledge that will provide a lot of helpful information that is often hard to find. My manuals are not photocopies. I maintain a high standard of quality in my reproductions. Most of the manuals I reproduce look better than their originals. I have professionally digitally edited every page, and removed stains, wrinkles and handwriting. All of the manuals are printed on thick white paper to withstand shop wear and tear; they are then comb-bound with heavy cover pages so they lie flat on the workbench, which can be better than a low-resolution free pdf download.












